
დიფერენციალური წნევის ჰიდროსტატიკური დონის ლიანდაგის ტესტირების სისტემა შედგება მრავალი დიფერენციალური წნევის ჰიდროსტატიკური დონის სენსორებისგან, რომლებიც დამონტაჟებულია სხვადასხვა საზომ წერტილებზე, რომელთაგან ერთ-ერთი დამონტაჟებულია ფიქსირებულ წერტილზე, რომელიც ემსახურება საცნობარო წერტილს. თითოეული საზომი წერტილის კომპონენტები დაკავშირებულია სერიაში და შეიძლება განთავსდეს სხვადასხვა სიმაღლეზე და სხვადასხვა მიმართულებით საზომი დიაპაზონის ფარგლებში. სენსორების სითხის დონის მნიშვნელობების გაზომვით გაზომვის წერტილებში და საცნობარო წერტილში, შესაბამისად, გამოითვლება დასახლების ცვლილება საცნობარო წერტილთან მიმართებაში. ეს სისტემა ფართოდ გამოიყენება ზუსტი გაზომვისთვის სხვადასხვა საინჟინრო სცენარებში, როგორიცაა ტროტუარზე არათანაბარი განლაგება, განივი კვეთის არაწრფივი დასახლება, კაშხლის დასახლება, ხიდის გადახრა, ფერდობის სტაბილურობა და შენობის დასახლება.
|
წარმოშობის ადგილი: |
ჩანშა, ჩინეთი |
|
ბრენდის სახელი: |
კინგმახი |
|
მოდელის ნომერი: |
JMYC-62XXAD |
|
სერტიფიცირება: |
GB/T 11828.2—2022წ |
|
შეკვეთის მინიმალური რაოდენობა: |
1 ცალი |
|
ფასი: |
შეთანხმებით |
|
შეფუთვის დეტალები: |
მუყაო ან ხის ყუთები. ასევე ხელმისაწვდომია მორგებული შეფუთვის გადაწყვეტილებები. |
|
მიწოდების დრო: |
გაიგზავნება 30 დღის განმავლობაში სრული გადახდის მიღებიდან. |
|
გადახდის პირობები: |
T/T წინასწარ. |
1. შექმნილია და დამზადებულია ურთიერთდაკავშირებული თხევადი მილის პრინციპის საფუძველზე, ის გთავაზობთ მაღალ მგრძნობელობას, სიზუსტეს, სტაბილურობას და მინიმალურ ტემპერატურაზე გავლენას, რაც მას შესაფერისს ხდის გრძელვადიანი მონიტორინგისთვის.
2. ჰიდროსტატიკური ნიველირების სისტემა მოიცავს ჰიდრავლიკური მილების საშუალებით ურთიერთდაკავშირებულ რამდენიმე ნიველირების ინსტრუმენტს, რაც საშუალებას იძლევა გაზომოს ვერტიკალური დეფორმაცია თითოეულ ინსტრუმენტზე საცნობარო წერტილთან მიმართებაში. აღჭურვილია ჩაშენებული ინტელექტუალური სქემით, ციფრულ გაზომვებს აწვდის პირდაპირ 485 ავტობუსის მეშვეობით, მხარს უჭერს დამახინჯების გარეშე შორ მანძილზე გადაცემას და იდეალურია ხანგრძლივი დაკვირვებისა და ავტომატური გაზომვისთვის.
3. საიზოლაციო შესანიშნავი შესრულება, წყალგაუმტარი და გამძლე დიზაინი, DC 12V ელექტრომომარაგება, უსაფრთხოებისა და საიმედოობის უზრუნველყოფა.
4. როდესაც დაწყვილებულია ჩვენი კომპანიის შეძენის ავტომატურ სისტემასთან (აღჭურვილი ავტობუსის მოდულებით და მასპინძელი კომპიუტერული პროგრამული უზრუნველყოფით), ის იძლევა უყურადღებო გაზომვის ან დისტანციური მონიტორინგის საშუალებას.
JMYC-62XXAD სერიის ფართო დიაპაზონის დიფერენციალური წნევის ჰიდროსტატიკური დონის სენსორი ფართოდ გამოიყენება საგზაო ზედაპირებზე წრფივი დასახლების ზუსტი გაზომვისთვის, ხიდის გადახრის, რბილი საძირკვლის დამუშავებისთვის, მელიორაციის საძირკვლის, კაშხლის ქვეგრადურების, ფერდობების სტაბილურობისა და შენობების დასახლებისთვის.
|
დიაპაზონი |
500 მმ, 1000 მმ, 3000 მმ, 5000 მმ |
|
რეზოლუცია |
0.1mm |
|
სიზუსტე |
0.2% FS |
|
მიწოდების ძაბვა |
DC 9V-24V |
|
ენერგიის მოხმარება |
<0,5 W |
|
გამომავალი სიგნალი |
RS485 ციფრული სიგნალი |
|
ოპერაციული ტემპერატურა |
-30℃~+80℃ |
|
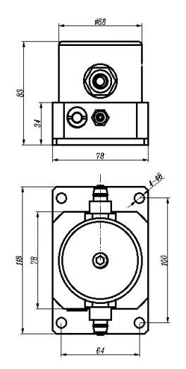
ზომები |
118 მმ × 78 მმ × 83 მმ |




თუ თქვენ დაინტერესებული ხართ ჩვენი პროდუქტებით ან გსურთ გახდეთ ჩვენი პარტნიორი.
გთხოვთ დატოვოთ თქვენი საკონტაქტო ინფორმაცია, ჩვენი გუნდი დაგიკავშირდებათ რაც შეიძლება მალე.
ფოსტა: [email protected]
დაგვიკავშირდით: +8613808434127
მისამართი: No. 188 Tongzipo West Rd, Changsha, Hunan, China